





| 柔性组合式滑线 |
|
一、概述 JDHR型滑线为单极制作,多极组装。适宜于密集型安装,如电动单轨小车自动生产线,游乐线等。其具有以下主要特征: 1.密集组合 极间距小,任意组合。目前已应用最大组台数为36根。 2.敷设方便 整体组装,敷设灵活,可悬挂安装、附着墙壁安装,水平安装、垂直安装或按需随意安装。 3.弯曲灵活 弯曲半径可达R500mm,并可随轨道任意弯曲,无须特意制成弧形。 二、主要基本参数 |
| 项目 | 基本参数 |
| 安装地点 | 室内 |
| 环境温度 | -25℃~+55℃ |
| 防护等级 | IP23 |
| 防触电等级 | 0级 |
| 最大工作电压 | 交流660V或直流1000V |
| 运行速度 | V≤200m/min |
| 污染等级 | 4级(一般导电粉尘和凝露状态) |
| 相对湿度 | <95% |
| 执行标准安 | JB6391-1992 |
|
三、技术参数及选用 根据承载电流大小和安装空间等确定所需滑线型号及安装根数,若需校核滑线的电压降请参阅预备知识。 1.滑线本体(标准长度5mm)
2.滑线组装器 滑线组装器式滑线单极组装及安装悬挂的部件。JDHR型滑线用组装器有组装夹各安装板两部分组成,JDHR2型用组装器只有组装夹,无安装板。 (1)安装板 与安装基础相连的部分。按安装型式分为铝轨和标准轨两种。
(2)组装夹 将滑线一根根组装起来的部件。
(3)连接器(在连接处供电时作供电器) 用于滑线间的连接,并起绝缘防护作用,其护罩可作中间供电器的护罩。
(4)供电器 向滑线本体进行供电的装置。其护罩与连接器护罩外形尺寸相同。
(5)断电段 线路上需要进行2次供电或分区供电时,起隔离绝缘作用的功能段。
(6)喇叭段 引导集电器由外部进入滑线的功能段。主要用于道岔和热膨胀补偿段部位,并可作为滑线端帽使用。 JRDX-20基本结构为2极组装,可根据需要任意极数组装(包含单数极) JRDX-14基本结构为8极组装,可根据需要任意极数组装(包含小于8极)
喇叭段的应用: 1)解决热膨胀问题。 2)道岔处喇叭段的安装示意图。
3)道岔的应用
喇叭段安装的几点提示:1)若道岔中喇叭段与道岔平移方向成一定角度时,应将其中一个喇叭段切割成与道岔平移方向一致的角度; 2)喇叭段必须与道岔固定在一起; 3)喇叭段相连的滑线上应设置供电点(特殊注明除外); 4)两相连的喇叭段(同一组)之间,上下、左右的安装误差不超过±3mm; 5)两喇叭段之间的距离(预留间隙)不超过6mm; 6)喇叭段最近一个固定点不得超过36m。 7)热胀冷缩问题的解决 这种滑线没有专门的补偿功能段,当需要考虑热胀冷缩问题时,主要采用分散 补偿法来解决。1)考虑热胀冷缩的条件; a.温差较大时; b.全线超过100m; c.圆弧殷数量较多时。 2)温度补偿的预留间隙的确定。 表示两根标准长度的滑线本体间的预留间隙值。 |
|||||||||||||||||||||||||||||||||||||||||||||||||||||||||||||||||||||||||||||||||||||||||||||||||||||||||||||||||||||||||||||||||||||||||||||||||||||||||||||||||||||||||||||||||||||||||||||||||||||||||||||||||||||||||||||||
|
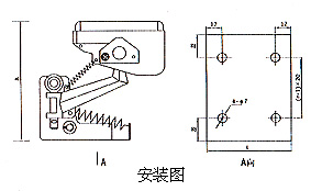
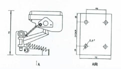
四、集电器 继电器主要有JDS和JDR型两种,无论哪种集电器都必须满足各自的安装条件。JDS型参阅DHB型滑线部分。 这里仅介绍JDR型集电器。 1.集电器介绍
2.集电器的选用 1)集电器的极数可以任意组合,并可作成双挑式(即双集电器); 2)根据移动设备的用电功率确定集电器的数量; 3)若作为控制信号使用,建议采用双挑式以保证传输的准确性。
|
||||||||||||||||||||||||||||||||
|
五、安装提示 1.滑线典型安装示意图 1)滑线与移动设备的水平和垂直方向的平型误差不得大于1.5/1000; 2)各接头不得出现松动现象; 3)集电器的安装必须保证各碳刷接触压力符合规范; 4)通电空载试运行30min后,加负载运行至少10min,检查各部情况。 2.几种常见场合的滑线安装举例 |
![]() |
![]() |
![]() |
| 自动生产线的铝轨安装 | 电动葫芦安装 | 地沟式安装 |
DJYPVP 3*2*1.5双屏蔽计算机电缆
YH/YHF电焊机电缆
煤矿用通信电缆
阻燃矿用通信电缆
YJV是什么电缆(YJV电缆含义)
硅橡胶绝缘丁晴护套计算机电缆
AF200,AF250氟塑料(铁氟龙)高温电线电缆
本质安全电路用对绞屏蔽控制电缆
计算机电缆规格型号及技术参数
AFP高温线
什么是低烟无卤电线电缆?规格型号有哪些?
变频器用电缆型号
DCEYHR机车电缆
AF46SP型对绞屏蔽电缆结构图
AF 250 1.0mm2耐高温线参数
耐寒电缆 。